Viral
Evan Bartlett
Oct 06, 2015

Because budget airline flights aren't already uncomfortable enough... Airbus has filed a patent for a seating system that looks remarkably like a medieval torture chamber.
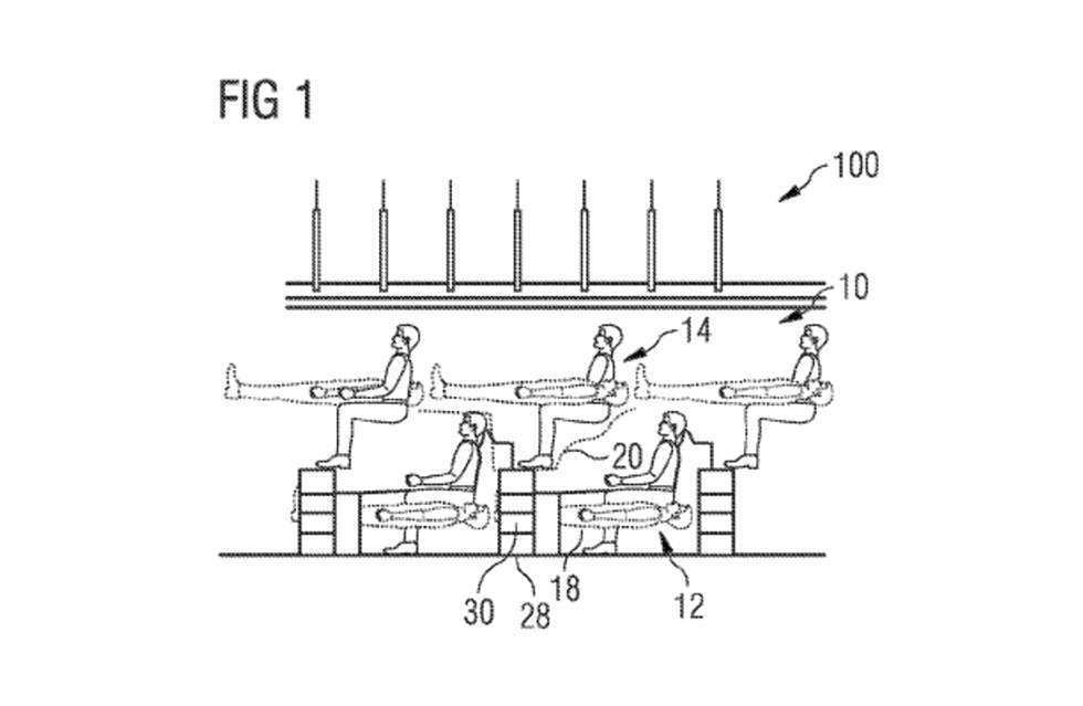
The design, filed with the US Patent and Trademark Office last week, shows seats stacked on top of each other in a mezzanine-style arrangement.
Passengers on the lower seats would be given a small ottoman-style footrest while those on the upper level would need to climb a small ladder to get into their seat.
In modern means of transport, in particular in aircraft, it is very important from an economic point of view to make optimum use of the available space in a passenger cabin.
- Airbus
The application explains that the seating arrangement is aimed at making the most of the limited space available inside a modern aircraft by utilising the "substantially unused upper lobe" of the cabin in "wide-body aircraft".
The company also insists that the design "provides passengers occupying the seats... enough space to guarantee a high level of comfort".
Right...
Fortunately, for anyone who might be planning on going overseas, this is only a patent application and is unlikely to implemented in any aircraft soon.
But just in case it does, we hear boats and trains are nice...
More: The worst seat on the aeroplane is about to get a whole lot better
Top 100
The Conversation (0)














